Redazione
Nei giorni scorsi è stato rivelato un innovativo controller che probabilmente Nintendo farà rientrare nel prossimo e attesissimo sistema interconnesso di console, ovvero Nintendo NX. Ma ad aumentare l’interesse verso il futuro della grande N si è aggiunto ieri un nuovo brevetto.
Logo non ufficiale di Nintendo NX
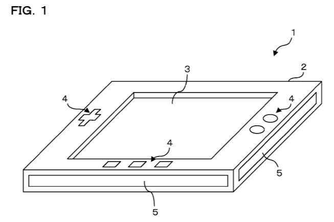
Il progetto mostra un controller con quattro “scanner laterali“, che permette all’utente di “scrollare” inventari, scorrere tra le opzioni o addirittura dare l’input al dispositivo semplicemente muovendo la mano su uno di questi scanner o il dito a lato della console.
Immagini esplicative sul possibile funzionamento del dispositivo
Quando il controller viene tenuto in mano, i sensori individuano il contatto con l’oggetto, rilevando anche la sua distanza o la sua rotazione. È possibile anche notare la capacità del dispositivo di interagire con un amiibo.
Immagini esplicative sul contatto con il dispositivo e sull’interazione con un amiibo
Anche se non collegato direttamente con Nintendo, il progetto era stato assegnato a Fumihiko Inoue, uno degli inventori di brevetti passati della grande N. Dall’estratto della presentazione del brevetto possiamo leggere:
“L’esempio del funzionamento del dispositivo dimostra: un alloggio avente una superficie con display, un sensore lineare d’immagine, posto esternamente all’alloggio, a lato o nell’angolo quando la superficie fornita di display è vista come una superficie frontale, e un’unità di elaborazione delle informazioni che permette di processare una scansione ottenuta da un sensore lineare d’immagine.”
Occorre comunque ricordare che non tutti i brevetti depositati sono destinati poi a diventare prodotti finali. L’attenzione e l’interesse, però, verso il sistema NX sono sempre più sentiti, e molti fans non vedono l’ora di scoprire cosa Nintendo sta progettando per loro. E voi cosa pensate riguardo a questi ultimi brevetti?
Cosa ne pensi? Facci sapere la tua sulla nostra chat Telegram, sul Forum o sui canali Social!






💬 Ultimi commenti su questa notizia
Ferdy
Che vogliano davvero sperimentare e lanciare la tanto attesa tastiera proiettata sulla scrivania?
Imho stanno aggiungendo feature interessanti, ma non saranno queste piccolezze che faranno vendere NX
Gucci_Boy
Non mi sembra affatto male come idea, il design è comunque solo provvisorio, non è compito di chi fa il brevetto pensare al design che viene sviluppato a parte...
Dangi
mi ispira un sacco al momento
Khronos
quel topino é adorabile :3 oddio ma l'aspetto non mi piace molto D: