Redazione
Mancano solo tre mesi al lancio di Nintendo Switch, la nuova console della casa di Kyoto che uscirà nel mese di marzo 2017. La Grande N è solita depositare dei brevetti riguardanti il nuovo hardware, e anche questa volta ne sono stati pubblicati di nuovi.
Lo scorso giugno, infatti, Nintendo ha depositato alcuni brevetti molto particolari, che sembrano svelare importantissime caratteristiche della console di prossima uscita, e sono finalmente stati resi pubblici.
Primo fra tutti, uno dei brevetti rivelerebbe l’esistenza di un HMD (head-mounted display), ovvero un visore per la realtà virtuale, compatibile con la console. Quest’ultimo funziona inserendo il Nintendo Switch nell’apposito slot presente nel visore, in modo più o meno simile al Gear VR di Samsung.
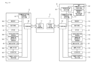
Tra le caratteristiche dell’hardware trapelate abbiamo un pannello tattile, che quindi renderà lo schermo della console un touch screen, probabilmente – ma non del tutto certo – di tipo capacitivo con multi tocco. Lo slot per la scheda SD è posto nella parte inferiore del dispositivo, e sembra ci sia la possibilità di connettersi alla rete attraverso un cavo Ethernet sia in modalità console che in modalità portatile. La modalità riposo, come quella del Nintendo 3DS, è presente per entrambe le versioni, così come un tasto per salvare delle istantanee di gioco. Si trova anche una porta jack input/output dove è possibile collegare sia delle cuffie che un microfono, quest’ultimo apparentemente – e insolitamente – assente nella console. Il dock di Nintendo Switch riceve video e audio attraverso una porta e un connettore USB Tipo-C, che a sua volta invia le immagini alla TV attraverso un cavo HDMI.
Dal punto di vista delle prestazioni ci troviamo di fronte a una ventola di raffreddamento operativa in entrambe le modalità della console, ma presente solamente nella console vera e propria, ovvero la versione portatile. Secondo i brevetti, però, alcune componenti come la CPU (e/o la GPU) e la ventola di raffreddamento non funzionano al massimo nella modalità portatile, mentre funzionano a piena potenza nella modalità console, garantendo prestazioni migliori. Inoltre è presente un sensore di luminosità per lo schermo, e la console può trasmettere audio e video al dock con lo schermo rivolto in entrambi i lati, grazie alla porta reversibile USB Tipo-C. Nintendo Switch possiede 3 porte USB ed è dotata di memoria interna espandibile.
I due controller Joy-Con emettono vibrazioni e hanno il giroscopio integrato, ma solamente quello destro possiede un sensore infrarossi e uno NFC. I due controller, come prevedibile, sono muniti di tasti dorsali L e R, e i tasti analogici potrebbero essere, come di consueto, cliccabili. Quando non sono collegati alla console, comunicano con essa attraverso una connessione Bluetooth, e sono presenti dei led nella parte dei Joy-Con che si attaccano alla console. Il Joy-Con Grip, infine, non dispone di porta per le cuffie, ma funzionerà come batteria portatile per i controller. Altri accessori simili a quest’ultimo – non è noto se varianti o prototipi – sono stati mostrati. È ignoto il numero massimo di controller utilizzabili contemporaneamente, ma dai brevetti scopriamo che almeno quattro giocatori potranno giocare nello stesso momento.
l sensore infrarossi del Joy-Con destro può addirittura effettuare l’autenticazione venale e dispone del sensore di vitalità. Questi due, rispettivamente, permettono di leggere il motivo venale dell’utente e le sue pulsazioni. Il sensore di vitalità, in particolare, potrebbe riguardare in qualche modo Quality of Life, una linea di dispositivi non indossabili per monitorare la salute delle persone e, come dice il nome, migliorare la qualità della vita, annunciata da Nintendo nel 2014.
Alcune caratteristiche sono invece ancora sconosciute. Tra queste c’è la possibile presenza della porta Ethernet nella console, ma non nel dock. Questo porterebbe alla necessità di dover usare un qualche adattatore USB per collegare un cavo di quel tipo al dock, proprio come per Wii U. Anche la fotocamera e lo stilo sembrano essere assenti. I trigger – conosciuti come L2 e R2 – della console potrebbero essere analogici, e quindi mandare un diverso input a seconda di come essi vengono premuti. Infine, ci sono alcune caratteristiche che non è ancora noto se verranno mantenute nella versione finale del prodotto ma presenti nei brevetti, come la connessione alla rete 4G, la possibilità di ricaricare i controller Joy-Con direttamente dalla console, e poter trasmettere le immagini alla TV senza collegare Nintendo Switch al dock.
Seppur questi siano brevetti depositati da Nintendo, non è detto che facciano parte di ciò che sarà definitivamente Nintendo Switch. Per saperne di più, bisognerà aspettare che sia la Grande N a rivelare nuovi dettagli sulla console. E voi cosa ne pensate di queste informazioni? E quale gioco Nintendo vi piacerebbe provare in realtà virtuale?
Cosa ne pensi? Facci sapere la tua sulla nostra chat Telegram, sul Forum o sui canali Social!











💬 Ultimi commenti su questa notizia