1. Pokémon Millennium  / 
  2. Notizie / 
  3. Nintendo

Nintendo a lavoro su Joy-Con indipendenti? Il brevetto appare online

Compare sul web un nuovo brevetto di Nintendo che mostrerebbe il design di nuovi Joy-Con indipendenti senza aggancio per Nintendo Switch.

di 
   · 2 min lettura Nintendo
Metti mi piace!
0

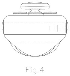
Nel corso di aprile 2020 Nintendo Japan sembrerebbe aver depositato a livello internazionale un particolare brevetto per dei Joy-Con indipendenti. Non si hanno conferme o smentite sull’ufficialità della volontà di produrre questi controller, ma possiamo scoprire insieme di cosa si tratta.

La peculiarità che rese Nintendo Switch unica e che fece innamorare milioni di videogiocatori nel 2017, anno di lancio della console, furono proprio i Joy-Con. Questi dispositivi che ci permettono di trasformare l’ibrida Nintendo da home console a portatile, o che ci fanno condividere i nostri giochi preferiti con chi vogliamo, sono piccoli gioielli tech. Accelerometro, vibrazione, infrarossi e massima duttilità sono le caratteristiche che li hanno resi la punta di diamante dell’azienda giapponese.

Joy-Con indipendenti

Quando nel 2019 entrò in commercio Nintendo Switch Lite, pensata per un gioco puramente portatile, l’assenza dei Joy-Con separabili fece storcere il naso a molte persone. Alcuni videogiochi danno la possibilità di condividere il divertimento proprio tramite questi controller, come per esempio Mario Kart 8 Deluxe, Super Mario Odissey, Super Smash Bros. Ultimate o Pokkén Tournament solo per citarne alcuni. Nintendo ha sempre confermato che il classico Joy-Con poteva essere collegato a Nintendo Switch Lite, permettendo il multigiocatore in alcuni titoli sul piccolo schermo della console. Forse per la grande N è giunto il momento di adeguare questi dispositivi anche per l’utenza della console lite.

Nuovi Joy-Con fronte

Appare online in questi giorni un nuovo brevetto di Nintendo che sembrerebbe intenzionata a produrre dei Joy-Con indipendenti da Nintendo Switch. Questi nuovi controller non prevedono il classico sistema di aggancio al pad, ma sono completamente stondati e comodi da impugnare come i vecchi remote controller di Nintendo Wii. Molti stanno associando questo brevetto a un imminente rilascio nel corso del 2021 di una Nintendo Switch aggiornata, con migliorie grafiche, di prestazioni e connettività.

Joy-Con

A prescindere dalle voci relative a nuove console, questi Joy-Con potrebbero essere davvero un’ottima idea da iniettare nel mercato. Quando si acquistano nuovi Joy-Con, è brutto non vederli connessi a nessuna console e risulta spesso anche scomodo caricarli. D’altro canto, la connessione diretta al pad permette di sincronizzare in automatico i controller con Switch, e la presenza del aggancio ci permette di utilizzare in mobilità i controller che preferiamo. Dal punti di vista degli utilizzatori di Switch Lite, nel caso in cui questi dispositivi constino anche di meno rispetto ai classici Joy-Con, sarebbe davvero una comoda occasione per condividere i propri giochi.

FONTE: WIPO

Cosa ne pensi? Facci sapere la tua sulla nostra chat Telegram, sul Forum o sui canali Social!

🕘  Notizie recenti

💬  Ultimi commenti su questa notizia

avatar
Di   

Eureka eh...nintendo!?:asduj1:

avatar
Di   

E quando sistemerete il drift degli attuali joycon? xD

avatar
Di   

già:Wooper:

avatar
Di   

Ora si può giocare meglio a Mario galaxy

avatar
Di   

Se drifteranno anche questi, penso che i miei joy con voleranno in testa al presidente della nintendo :moonmoon: