Redazione
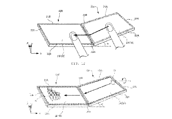
Il sito di informatica Digital Trends ha fatto trapelare un progetto recentemente posto in brevetto da Nintendo, avente come soggetto una coppia di dispositivi in grado di interagire tra di loro come se fossero una singola unità.
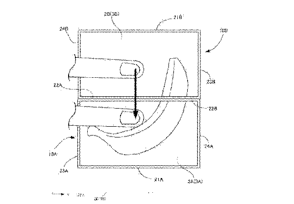
Secondo il testo incluso in calce alle immagini trapelate, tale brevetto consentirebbe a una pluralità di dispositivi di elaborare e gestire le informazioni in sincrono: in un esempio è possibile vedere un dito attraversare entrambi gli schermi, senza che i sistemi perdino informazioni sul suo posizionamento al momento del passaggio da un dispositivo all’altro.
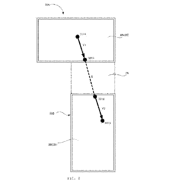
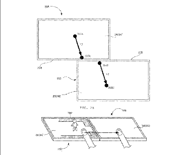
Per di più sembra che i due dispositivi non debbano essere in contatto diretto tra di loro: una seconda immagine mostra infatti una pallina attraversare due sistemi senza che essi siano vicini tra di loro.
Non vi è ovviamente conferma che Nintendo proseguirà nello sviluppo di questo interessante progetto, ma nel caso lo facesse sarebbe interessante ammirare il risultato di un così singolare brevetto.
Trattandosi molto probabilmente una semplice connessione wireless tra due o più dispositivi coadiuvata da un posizionamento tramite giroscopio condiviso, non è da escludere che vedremo in futuro dei titoli che sfruttano questa tecnologia sulle nostre console Nintendo Switch, che ovviamente hanno già a disposizione le tecnologie elencate.
Riuscite a pensare a qualche sviluppo creativo per la tecnologia recentemente brevettata dalla Grande N? Quale titolo pensate la sfrutterebbe al meglio?
Cosa ne pensi? Facci sapere la tua sulla nostra chat Telegram, sul Forum o sui canali Social!






💬 Ultimi commenti su questa notizia
Enrico25
Ma il brevetto non è specificato per Switch. Potrebbe essere per qualsiasi cosa, anche un telefono lol
Zem1992
la cosa si può fare
Warmachine_rdd2
Potrebbe tornare utile su nuovo giochi come pokemon non resta che attendere;)
Mana
Quindi, potrebbe essere supportato come metodo di scambio con i Pokémon su Nintendo Switch, oppure di realizzare una mappa in grande stile.